歡迎加入LINE官方帳號,訊息回覆快速並能獲得更多資訊!!!
×
選框
A.影像微噴出版品
B.油畫
C.水彩/版畫(西畫)
D.膠彩/水墨/書法(中畫)
E.立體實物裱件
F.大尺寸裝裱
G.織品(絲巾、各式布品)
H.運動相關(球衣、球棒)
宮崎駿電影海報
空框
包裝材料及其他
買畫
練習曲
G.抽象
H.自然
I.植物與花
部落格
框的選擇
藝術有意思
日常有藝術
購物須知
官網購物流程
商品客製步驟
常見Q&A
關於我們
產品特色
公司簡介
隱私權聲明
聯絡我們
營業據點
訂單查詢
登入/註冊
重設密碼
選框
A.影像微噴出版品
B.油畫
C.水彩/版畫(西畫)
D.膠彩/水墨/書法(中畫)
E.立體實物裱件
F.大尺寸裝裱
G.織品(絲巾、各式布品)
H.運動相關(球衣、球棒)
宮崎駿電影海報
空框
包裝材料及其他
買畫
練習曲
G.抽象
H.自然
I.植物與花
部落格
框的選擇
藝術有意思
日常有藝術
購物須知
官網購物流程
商品客製步驟
常見Q&A
關於我們
產品特色
公司簡介
隱私權聲明
聯絡我們
營業據點
首頁
部落格
框的選擇
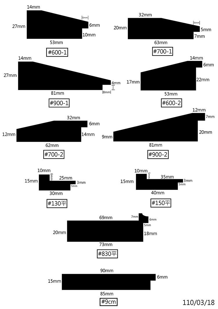
框形剖面圖
框形剖面圖
發布日期:27 Sep 2021
提供我們現有的框形剖面圖,
讓您能更瞭解我們的手工框,
在為作品選擇框型時,也有更多參考及想法!
(更新日期:2021/09/27)